3amcloud是一家位于新加坡的服务商,拥有全球多个数据中心,主营业香港/美国/日本/新加坡/韩国等海外服务器,大带宽服务器,站群服务器,高防服务器。深耕多年,拥有专业的技术团队,提供7*24小时技术支持,美金USDT付款安全稳定。
官方网址:
香港CN2云服务器
| CPU | 内存 | 磁盘 | 带宽 | 价格 | 购买 |
| 1H | 1G | 40+10 | 5M | $9.6/月 | 链接 |
| 2H | 2G | 40+10 | 5M | $12.3/月 | 链接 |
| 4H | 4G | 40+10 | 5M | $22.1/月 | 链接 |
| 4H | 8G | 40+10 | 5M | $27.6/月 | 链接 |
| 8H | 8G | 40+10 | 5M | $36/月 | 链接 |
| 8H | 16G | 40+10 | 5M | $40.2/月 | 链接 |
| 16H | 16G | 40+10 | 5M | $55.4/月 | 链接 |
站长测评
配置信息/IO读写测试:

IP质量检测:

speedtest亚洲节点上行下行测试:

SpEedtest全球节点上行下行测试:

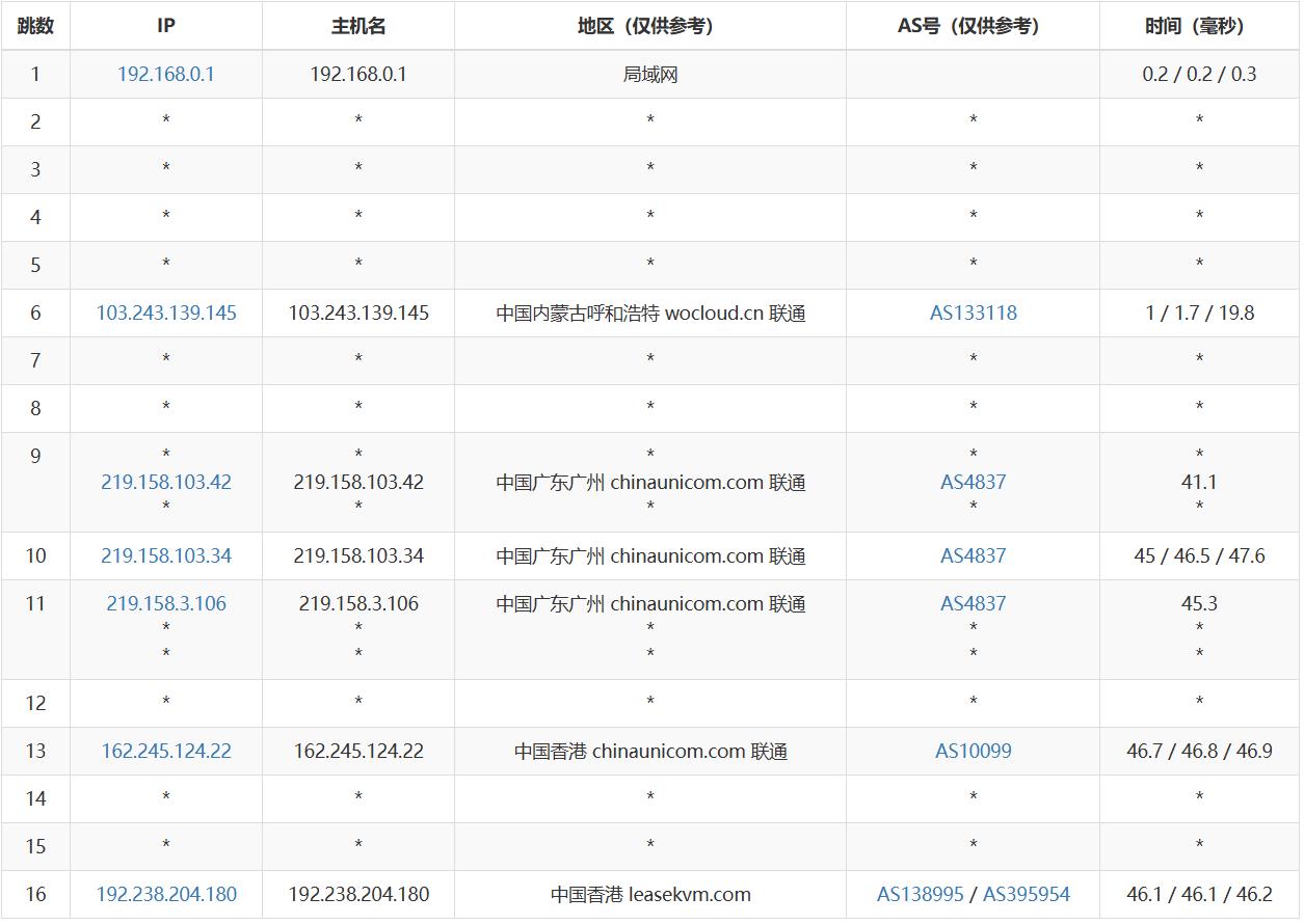
电信去程测试:

联通去程测试:
移动回程测试:












